一個實心金屬直圓錐體,高20釐米,其頂角為$60^{o}$,被一個平行於底面的平面在其高度的中部截成兩部分。如果由此得到的圓臺被拉成直徑為$\frac{1}{12}$釐米的金屬絲,求金屬絲的長度。
已知:一個實心金屬直圓錐體,高20釐米,其頂角為$60^{o}$,被一個平行於底面的平面在其高度的中部截成兩部分。如果由此得到的圓臺被拉成直徑為$\frac{1}{16}$釐米的金屬絲。
要求:求金屬絲的長度。
解題步驟

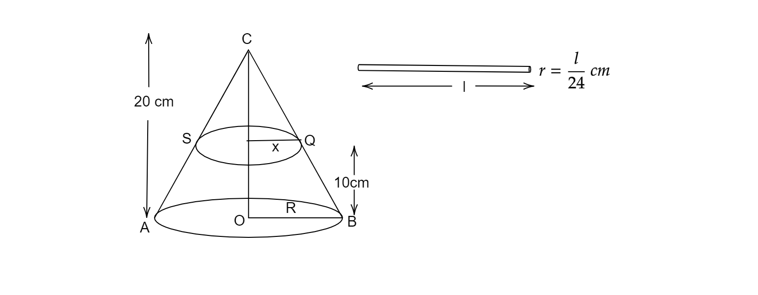
設ACB為圓錐體,其頂角$\angle ACB = 60^{o} $。
設$R$和$x$分別為圓臺上下底的半徑。
這裡,圓錐體的高度,$OC = 20 cm=H$
高度$CP = h = 10\ cm $
設P為OC的中點
透過P將圓錐體截成兩部分。
OP =$\frac{20}{2}= 10\ cm$
此外,$\angle ACO$和$\angle OCB =$\frac{1}{2} \times 60^{o} =30^{o} $
從圓錐體CBA中截去圓錐體CQS後,得到的剩餘固體是一個圓臺。
現在,在三角形CPQ中
$tan30^{o}=\frac{x}{10}$
$\frac{1}{\sqrt{3}} =\frac{x}{10}$
$\Rightarrow x=\frac{10}{\sqrt{3}}\ cm$
在三角形COB中
$tan30^{o}=\frac{R}{20}$
$\Rightarrow \frac{1}{\sqrt{3}} =\frac{R}{20}$
$\Rightarrow R=\frac{20}{\sqrt{3}}$
圓臺的體積,$V=\frac{1}{3} \pi \left( R^{2} H-x^{2} h\right)$
$\Rightarrow V=\frac{1}{3} \pi \left(\left(\frac{20}{\sqrt{3}}\right)^{2} .20-\left(\frac{10}{\sqrt{3}}\right)^{2} .10\right)$
$\Rightarrow V=\frac{1}{3} \pi \left(\frac{400\times 20}{3} -\frac{100\times 10}{3}\right)$
$\Rightarrow V=\frac{1}{3} \pi \left(\frac{8000-1000}{3}\right)$
$\Rightarrow V=\frac{7000}{9} \pi \ cm^{3}$
假設金屬絲的長度為l。
已知從圓臺得到的金屬絲的直徑為$\frac{1}{12}\ cm$
金屬絲的半徑,$r=\frac{1}{2} \times \frac{1}{12} =\frac{1}{24}\ cm$
金屬絲的體積$=\pi r^{2} l$
$=\pi \left(\frac{1}{24}\right)^{2} l$
$=\frac{\pi l}{576} cm^{3}$
圓臺和形成的金屬絲的體積相等,
$\frac{7000}{9} \pi =\frac{\pi l}{576}$
$\Rightarrow \frac{7000}{9} =\frac{l}{576}$
$\Rightarrow l=\frac{7000\times 576}{9}$
$\Rightarrow l=448000\ cm$
$\Rightarrow l=4480\ cm$
因此,金屬絲的長度為480釐米。
廣告