一個高20釐米,頂角為60°的金屬直圓錐,在其高度一半處被一個平行於底面的平面切成兩部分。如果由此得到的圓臺被拉成直徑為$\frac{1}{16}$釐米的金屬絲,求金屬絲的長度。


已知

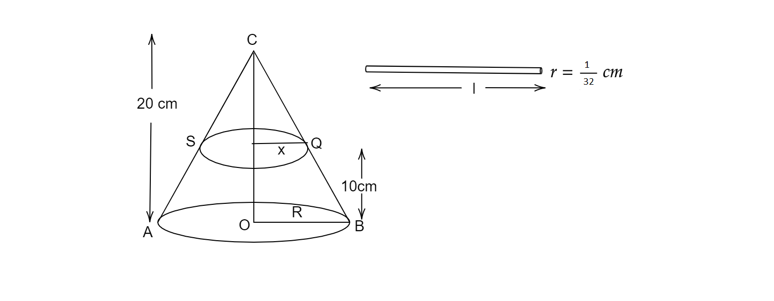
一個高20釐米,頂角為$60^{o}$的金屬直圓錐,在其高度一半處被一個平行於底面的平面切成兩部分。

由此得到的圓臺被拉成直徑為$\frac{1}{16}$釐米的金屬絲。

要求

求金屬絲的長度。

解答

設ACB為圓錐,其頂角$\angle ACB = 60^{o} $。

設$R$和$x$分別為圓臺上下底的半徑。

圓錐高$OC = 20 cm=H$

高$CP = h = 10\ cm $

設P為OC的中點

透過P將圓錐切成兩部分。

OP =$\frac{20}{2}= 10\ cm$

且$\angle ACO$ 和 $\angle OCB =\frac{1}{2} \times 60^{o} =30^{o} $

從圓錐CBA切下圓錐CQS後,剩餘部分為圓臺。

在三角形CPQ中

$tan30^{o}=\frac{x}{10}$

$\frac{1}{\sqrt{3}} =\frac{x}{10}$

$\Rightarrow x=\frac{10}{\sqrt{3}}\ cm$

在三角形COB中

$tan30^{o}=\frac{R}{20}$

$\Rightarrow \frac{1}{\sqrt{3}} =\frac{R}{20}$

$\Rightarrow R=\frac{20}{\sqrt{3}}$

圓臺體積,$V=\frac{1}{3} \pi \left( R^{2} H-x^{2} h\right)$

$\Rightarrow V=\frac{1}{3} \pi \left(\left(\frac{20}{\sqrt{3}}\right)^{2} .20-\left(\frac{10}{\sqrt{3}}\right)^{2} .10\right)$

$\Rightarrow V=\frac{1}{3} \pi \left(\frac{400\times 20}{3} -\frac{100\times 10}{3}\right)$

$\Rightarrow V=\frac{1}{3} \pi \left(\frac{8000-1000}{3}\right)$

$\Rightarrow V=\frac{7000}{9} \pi \ cm^{3}$

設金屬絲長度為$l$。

已知金屬絲直徑為$\frac{1}{16}\ cm$

金屬絲半徑,$r=\frac{1}{2} \times \frac{1}{16} =\frac{1}{32}\ cm$

金屬絲體積$=\pi r^{2} l$

$=\pi \left(\frac{1}{32}\right)^{2} l$

$=\frac{\pi l}{1024} cm^{3}$

圓臺和金屬絲的體積相等,

$\frac{7000}{9} \pi =\frac{\pi l}{1024}$

$\Rightarrow \frac{7000}{9} =\frac{l}{1024}$

$\Rightarrow l=\frac{7000\times 1024}{9}$

$\Rightarrow l=796444.44\ cm$

$\Rightarrow l=7964.44\ m$

因此,金屬絲的長度為7964.4米。

更新於:2022年10月10日

65次瀏覽

開啟您的職業生涯

完成課程獲得認證

開始學習
廣告