
- 光網路有用資源
- 光網路 - 快速指南
- 光網路 - 有用資源
- 光網路 - 討論
光網路 - 裝置
在本章中,我們將討論光器件的各個組成部分。
隔離器
隔離器是一種非互易器件,它允許光沿一個方向透過光纖,並在相反方向提供非常高的衰減。隔離器需要在光學系統中防止不希望的反射,反射回光纖並擾亂雷射器的工作(產生噪聲)。在製造隔離器時使用“法拉第效應”,它是偏振相關的。

隔離器由光偏振器、分析器和法拉第旋轉器構成。光訊號穿過與入射偏振態平行的偏振器。法拉第旋轉器將光訊號的偏振旋轉 45 度。
然後,訊號穿過分析器,分析器相對於輸入偏振器定向 45 度。隔離器使光訊號從左到右透過,並將其偏振改變 45 度,併產生大約 2 dB 的損耗。
環行器
環行器是微光學器件,可用於任意數量的埠,但是,通常使用 3 埠/4 埠環行器。它具有相對較低的埠到埠損耗,為 0.5 dB 至 1.5 dB。

上圖顯示了環行器的基本功能。進入任何特定埠(例如埠 1)的光在環行器周圍傳播並在下一個埠(例如埠 2)處退出。進入埠 2 的光在埠 3 處離開,依此類推。該器件圍繞圓形對稱操作。環行器是微光學器件,可以製造任意數量的埠。但是,3 埠和 4 埠環行器非常常見。環行器的損耗非常低。典型的埠到埠損耗約為 0.5 到 1.5 dB。
分束器和耦合器
耦合器和分束器用於組合光訊號和/或分割光訊號。絕大多數單模光耦合器採用諧振耦合原理。兩個 SM 光纖纖芯平行放置並彼此靠近。光功率透過電磁波感應從一個纖芯轉移到另一個纖芯,然後再返回。功率耦合取決於耦合段的長度。
三個重要的特性是:
回波損耗 - 反射和丟失的功率量。
插入損耗 - 訊號在透過器件的總傳輸過程中損失的量。
過量損耗 - 器件在理論損耗之上的額外損耗。
耦合器型別
- Y 型耦合器
- 星形耦合器
- 熔接光纖
- 混合板
- 平面(自由空間)
- 3 dB 耦合器
- 分束器
濾波器
濾波器用於從許多訊號中選擇傳輸路徑和接收器中的訊號。光柵是濾波器。開關、調製器、AWG、複用器等被認為是濾波器的型別。
以下是濾波器的型別:
- 法布里-珀羅
- 可調諧濾波器
- 光纖布拉格光柵濾波器
濾波器用於 LED 前面以縮小線寬,然後再進行傳輸。濾波器在 WDM 網路中非常有用,用於:
放置在非相干接收器前面的濾波器可用於從許多到達的訊號中選擇特定訊號。
建議使用濾波器來控制訊號在網路中透過哪條路徑的 WDM 網路。
光纖布拉格光柵是通訊領域中最重要的光學濾波器。

調製器
調製器由一種材料組成,該材料在電場或磁場的影響下會改變其光學特性。通常使用三種方法:
- 電光和磁光效應
- 電吸收效應
- 聲光調製器
由於機械振動,材料的折射率發生變化。聲光調製器使用非常高頻率的聲音。透過控制聲音的強度,我們可以控制偏轉的光量,從而構建調製器。
以下是一些優點:
它們可以處理相當高的功率。
折射的光量與聲波的強度成線性比例。
它們可以同時調製不同的波長。
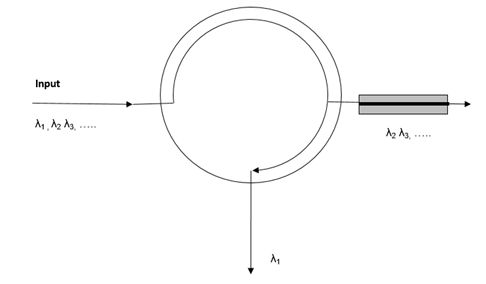
光ADM
光學濾波器用於從到達光纖上的多個波長中隔離或濾除所需的波長。一旦波長被濾除,就可以在光纖上新增或插入使用相同波長的另一個通道,因為它離開 OADM。
一個簡單的 ADM 只有 4 個輸入和輸出通道,每個通道有 4 個波長。在 OADM 中,波長可能會被放大、均衡或進一步處理。OADM 使用光交叉連線將波長從輸入光纖排列到輸出光纖。

光交叉連線
光交叉連線可以接收 4 根輸入光纖,每根光纖承載 4 個波長,並將 16 個波長重新排列到 4 根輸出光纖上。OXC 內部的簡單轉發器會將其中一個波長切換到可用的通道。
