8259 可程式設計中斷控制器 (PIC) 微處理器
8259 稱為可程式設計中斷控制器 (PIC) 微處理器。在 8085 和 8086 中,分別有五個和兩個硬體中斷。透過新增 8259,我們可以提高中斷處理能力。該晶片將多箇中斷輸入源組合成單箇中斷輸出,提供從 IR0 到 IR7 的 8 箇中斷。讓我們來看一下該微處理器的部分特性。
該晶片專為 8085 和 8086 設計。
它可以程式設計為邊沿觸發模式或電平觸發模式。
我們可以遮蔽中斷請求暫存器的各個位。
透過級聯 8259 晶片,我們可以將中斷增加到最多 64 條中斷線。
不需要時鐘週期。
管腳級圖和功能管腳圖如下所示:


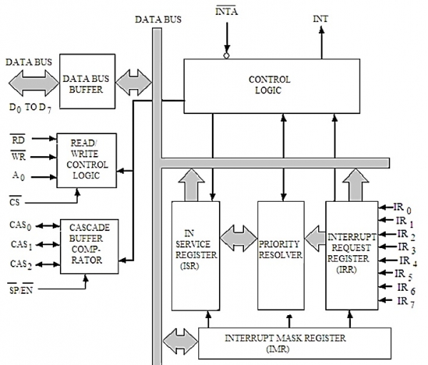
框圖如下所示:

| 模組 | 描述 |
|---|---|
| 資料匯流排緩衝器 | 此模組用作緩衝器,用於 8259 和 8085/8086 之間的通訊。它從 8085/8086 獲取控制字並將其傳送到 8259。它將所選中斷的操作碼和 ISR 的地址傳輸到其他連線的微處理器。它一次最多可以傳送 8 位資料。 |
| 讀/寫控制邏輯 | 當 CS 引腳的值為 0 時,此模組工作。此模組用於根據 RD 和 WR 的輸入來傳輸資料。這些是用於讀寫操作的低電平有效引腳。 |
| 控制邏輯 | 它控制每個模組的功能。它有一個名為 INTR 的引腳,用於連線到其他微處理器以接收中斷請求。INT 引腳用於提供輸出。如果 8259 已啟用,並且其他微處理器的中斷標誌也為高電平,則這會導致輸出 INT 引腳的值變為高電平,透過這種方式,該晶片可以響應其他微處理器發出的請求。 |
| 中斷請求暫存器 | 它儲存所有請求中斷服務的級別。 |
| 中斷服務暫存器 | 它儲存當前正在執行的中斷級別。 |
| 中斷遮蔽暫存器 | 它儲存將被遮蔽的中斷級別,方法是儲存中斷級別的遮蔽位。 |
| 優先順序仲裁器 | 它檢查所有三個暫存器,並設定中斷的優先順序。優先順序最高的中斷將設定在 ISR 暫存器中。它還會重置 IRR 中已處理的中斷級別。 |
| 級聯緩衝器 | 為了增加中斷引腳的數量,我們可以使用級聯緩衝器級聯更多的引腳。當我們打算提高中斷能力時,CSA 線用於控制多箇中斷。 |
廣告
資料結構
網路
RDBMS
作業系統
Java
iOS
HTML
CSS
Android
Python
C 程式設計
C++
C#
MongoDB
MySQL
Javascript
PHP