磁學、電磁學和磁性材料
磁性
在古代,人們認為磁的無形力量純粹是一種神奇的量。然而,隨著幾個世紀以來科學知識的不斷增長,磁性扮演著越來越重要的角色。如今,磁性在電氣工程中佔據著重要的地位。如果沒有磁性,發電機、電動機、變壓器、電視、收音機、電話等電氣裝置將無法執行。因此,電氣工程在很大程度上依賴於磁性。
磁極
磁鐵有兩個極,即北極和南極。為了確定磁鐵的極性,將其懸掛在其中心,然後磁鐵將靜止在南北方向。因此,指向地球北方的磁極稱為磁鐵的北極,而指向地球南方的磁極稱為磁鐵的南極。

關於磁極的一些重要要點:
磁極無法分離,即如果將條形磁鐵分成兩部分,每一塊磁鐵的一端將是N極,另一端將是S極。
磁極沒有物理實在性。
磁鐵的N極和S極具有相同的強度。
磁力定律
有兩個定律描述了兩個磁極之間磁力的性質和大小:
同性磁極相互排斥,異性磁極相互吸引,即N極和N極或S極和S極相互排斥,而N極和S極相互吸引。
作用於兩個磁極之間的力與它們的磁極強度(m)的乘積成正比,與它們之間距離(r)的平方成反比。

因此,兩個磁極之間的力為
$$\mathrm{F\:α\frac{m_{1}\:m_{2}}{r^{2}}}$$
$$\mathrm{\Rightarrow\:F\:=\:K\frac{m_{1}\:m_{2}}{r^{2}}}\:\:\:… (1)$$
其中,K是一個比例常數,其值為:
$$\mathrm{K=\frac{1}{4\pi\:\mu_{o}\mu_{r}}}\:\:\:… (2)$$
其中:
μ0是空氣/真空的絕對磁導率。其值為4π10-7 H/m,
μr是周圍介質的相對磁導率(對於空氣,μr = 1)。
因此,根據公式 (1) 和 (2),我們可以寫成:
$$\mathrm{F=\frac{1}{4\pi\:\mu_{o}\mu_{r}}(\frac{m_{1}\:m_{2}}{r^{2}})}\:\:\:… (3)$$
磁極強度(m)的單位是韋伯 (Wb)。
磁場及其性質
磁極受到力的作用的空間或區域稱為磁場。磁鐵的磁場用其周圍的虛線表示,這些虛線稱為磁力線。

磁力線的性質
磁力線形成閉合迴路,即它們從磁鐵的N極發出,穿過周圍介質,進入S極。
磁力線上某一點的切線表示該點磁通密度(B)的方向。
兩條磁力線永不相交。如果兩條磁力線在一點相交,則該點將有兩個磁場方向。
磁力線縱向收縮,橫向擴充套件。這解釋了為什麼同性磁極相互排斥,而異性磁極相互吸引。
磁通量
磁通量定義為磁鐵產生的磁力線的總數量。它用Φ表示,由下式給出:
$$\mathrm{磁通量,Φ = m\:韋伯(Wb)}\:\:\:… (4)$$
磁通密度
磁通密度定義為垂直透過單位面積的磁通量。它用B表示。它是一個向量,具有大小和方向。因此:
$$\mathrm{磁通密度,B=\frac{Φ}{A}\:Wb⁄m^{2}\:或\:特斯拉}\:\:\:…(5)$$
磁場強度
作用在放置在磁場中某一點的單位測試N極上的力稱為磁場強度或磁化力。它用H表示。

這裡:
$$\mathrm{x點處的磁場強度,H=作用在放置在x點的單位測試N極上的力}$$
$$\mathrm{\Rightarrow\:H=\frac{1}{4\pi\mu_{0}}(\frac{m×1}{r^{2}})=\frac{1}{4\pi\mu_{0}}(\frac{m}{r^{2}})}\:\:\:N⁄Wb \:\:\:…(6)$$
磁場強度是一個向量,具有大小和方向。
B和H之間的關係
在給定的磁性材料中,磁通密度(B)與磁場強度(H)成正比,即:
$$\mathrm{B\:α\:H}$$
$$\mathrm{\Rightarrow\:B=\mu H=\mu_{0}\mu_{r}H}\:\:\:… (7)$$
電磁學
當電流流過導體(或線圈)時,導體(或線圈)周圍會產生磁場。因此,由於電流產生磁場的現象稱為電磁學。
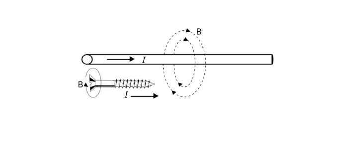
直導線中的電流
當電流流過直導線時,導體周圍會產生磁場。磁力線呈導體周圍的同心圓狀。導體周圍磁力線的方向取決於流過它的電流方向,可以使用以下任何一個規則確定:
右手定則
用右手握住導體,如果拇指指向電流方向,則捲曲的指頭將指向導體周圍磁場的方向(如圖所示)。

螺旋鑽定則
用右手握住螺旋鑽,使其旋轉前進方向與電流方向一致。那麼,手旋轉的方向就是導體周圍磁力線的方向(見圖)。

載流線圈
考慮一個由繞在鐵芯上的N匝線圈組成的線圈。當電流流過線圈時,線圈周圍會產生磁場。根據線圈中電流的方向,鐵芯的一端將成為N極,另一端將成為S極。這種裝置通常稱為電磁鐵。可以使用線圈右手定則確定該電磁鐵的極性。

線圈右手定則
用右手握住線圈,使捲曲的指頭表示電流方向,則與線圈軸線平行的伸出的拇指將指向電磁鐵的北極。
電磁鐵的磁化力 (H)
考慮一個載有I安培電流的N匝線圈(如圖所示)。線圈產生的磁通量(Φ)與線圈的匝數(N)和電流(I)的乘積成正比。NI稱為磁動勢 (m.m.f),單位為安培·匝 (AT)。
$$\mathrm{磁動勢=NI\:\:\;AT}\:\:\:… (8)$$
現在,電磁鐵的磁化力 (H)定義為單位長度磁路建立的磁動勢,即:
$$\mathrm{磁化力,H=\frac{NI}{l}}\:\:\:AT/m…(9)$$
磁性材料
磁性材料是可以產生磁場的材料。通常,磁性材料分為以下三類:
- 抗磁性材料
- 順磁性材料
- 鐵磁性材料
抗磁性材料
抗磁性材料,有時也稱為非磁性材料,是指沒有顯著磁性的材料。在這些材料中,合磁矩為零。當抗磁性材料置於外磁場的影響下時,該材料會產生一個與外磁場相反的磁場。因此,抗磁性材料會被外磁場排斥。抗磁性材料的例子有水、木材、石油等有機化合物和一些塑膠以及銅、汞、金、銀、碳等一些金屬。
順磁性材料
順磁性材料是指具有極少量磁性的材料。在這些材料中,原子有一些未成對電子,並且單個電子的磁矩不能完全抵消。因此,原子具有一定的磁矩,這些磁矩以隨機方向排列,因此順磁性材料整體不表現出磁性。
如果將順磁性材料置於外磁場中,則單個原子的磁矩將與外磁場對齊。這會導致材料被磁化。因此,順磁性材料產生的磁場方向與外磁場方向相同。順磁性材料只有在外磁場的影響下才表現出磁性。如果去除外磁場,順磁性材料就會失去磁性。順磁性材料的例子有鈉、鋁、鋰、鎂、鎢等。
鐵磁性材料
鐵磁性材料是指容易被磁化並能保持其磁性的材料。在鐵磁性材料中,原子具有未成對電子,因此每個原子都具有合磁矩。附近原子的磁矩有趨於對齊的趨勢。這些附近的原子在材料中形成不同的區域,稱為疇,其中單個原子的磁矩對齊。然而,不同疇的磁矩仍然可能指向不同的方向。當鐵磁性材料置於外磁場中時,材料的不同疇沿外磁場對齊。即使去除外磁場,鐵磁性材料也能保持其磁性。鐵磁性材料的例子有大多數金屬,如鐵、鎳、鈷和一些金屬合金等。
資料結構
網路
關係資料庫管理系統 (RDBMS)
作業系統
Java
iOS
HTML
CSS
Android
Python
C語言程式設計
C++
C#
MongoDB
MySQL
Javascript
PHP