討論計算機體系結構中的硬體演算法?
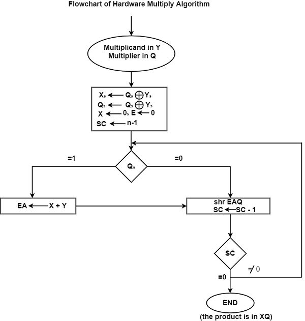
用於乘以兩個數字的演算法稱為乘法演算法。硬體乘法演算法用於計算機等數位電子裝置中進行二進位制數字的乘法運算。該圖顯示了硬體乘法演算法的流程圖。

在圖中所示的流程圖中,被乘數在 Y 中,乘數在 Q 中。與 Y8 和 Q8 相關的符號分別位於。這些符號進行比較,並且 X 和 Q 都設定為對應於乘積的符號,因為雙長度乘積將儲存在暫存器 X 和 Q 中。
暫存器 X 和 E 被清零。然後,序列計數器 (SC) 設定為一個類似於乘數的幾位數的數字。
假設運算元從記憶體單元傳輸到具有 n 位字的暫存器。一個字位被符號佔用,而幅度包含 n - 1 位,因為運算元必須與其符號一起儲存。
初始化完成後,測試乘數中的低位。如果該位為 1,則將 Y 中的被乘數插入到儲存在 X 中的當前部分積中。如果該位為 0,則不執行任何操作。
SC 減 1,並檢查其新值。如果它不等於 0,則重複該過程並形成新的部分積。當 SC 等於 0 時,此過程停止。
在 X 中生成的的部分積一次一位地移位到 Q,並最終替換乘數。最終結果儲存在 X 和 Q 中。這裡,X 包含 MSB,Q 包含最低有效位 (LSB)。
廣告
資料結構
網路
關係型資料庫管理系統
作業系統
Java
iOS
HTML
CSS
Android
Python
C 語言程式設計
C++
C#
MongoDB
MySQL
Javascript
PHP