直流發電機
簡介
直流發電機透過電磁感應過程產生電流。電磁力產生電磁場。在電磁場中,電場和磁場交織在一起。電磁力決定電磁現象。電磁力是帶電粒子之間的相互作用。洛倫茲力也稱為電磁力。
電動勢是指電池組移動帶電粒子透過電路所需的功。電磁場是由帶電物體運動引起的自然場。它影響附近帶電物體的行為。電場是由靜止電荷和運動電荷(電流)引起的,它們也與磁場相關。
EMI
電磁感應 (EMI) 指的是當導體受到變化的磁場作用時,在導體的兩端之間產生的電壓。
法拉第在 1831 年發現,當線圈周圍的磁場發生變化時,線圈中會感應出電動勢。
法拉第表明,只要導體和磁場之間存在相對運動,導體中就會感應出電動勢。這種電動勢稱為電動勢,這種現象稱為電磁感應。
電感器在電動勢導體中感應電流。此電流稱為感應電流。
利用電磁感應原理髮電,用於家庭和工業用途。
直流發電機
機械能在發電機中轉換為電能。如果電子以均勻的速度並沿相同的方向運動,則電流稱為直流電。
直流發電機用於產生連續恆定的直流電。
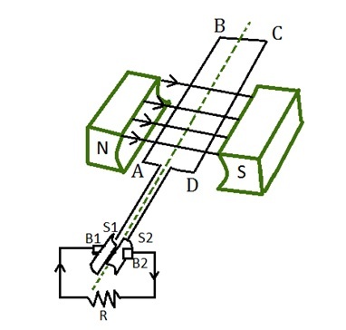
與交流發電機一樣,裝有旋轉軸的繞組線圈在電磁體的端子之間旋轉。
直流發電機是交流發電機的稍微改進的版本。兩者的所有部件都相同。

原理和工作原理
當電動線圈在磁場中旋轉時,線圈的導體端之間會產生電壓,並有電流流動。這是發電機的基本原理。稱為電磁感應。
使用分段環換向器代替滑環來產生直流電 (DC)。兩個半圓形金屬片 S1 和 S2 由絕緣體隔開。
當換向器線圈與旋轉軸相連並旋轉時,它會隨之旋轉。
在第一個半週期中,部分 S1 接觸電刷 B1。在第二個半週期中,部分 S2 接觸電刷 B1。
由於繞組線圈每個電樞的運動方向發生變化,因此電刷被安排接觸特定的分段環區域。
一個電刷為正,另一個為負。因此,提供給外部電路的電流本質上是單向的,但其值會發生變化。
一個電刷始終與向上電樞保持恆定接觸,另一個與向下電樞保持恆定接觸。
因此,外部電路中的電流將沿單方向流動。這種型別的發電機稱為直流發電機。
公式
發電機中感應的電動勢 Eg=磁通量變化率
$$\mathrm{E_g=\frac{d \phi}{dt}}$$
$$\mathrm{d\phi=ϕ(總磁通)\times 總磁極數 (P)}$$
$$\mathrm{dt=\frac{60}{N}}$$
$$\mathrm{∴ E_g=ϕ_p \frac{ N}{60}}$$
$$\mathrm{N=電樞轉速 (r.p.m)}$$
電樞中共有 Z 根導體。直流發電機中串聯的導體總數為 $\mathrm{\frac{z}{A}}$
$$\mathrm{感應的總電動勢 E_g=ϕ_p \frac{ NZ}{60A}}$$
A=將 Z 根導體劃分的並聯路徑數
解題示例
1.計算一個 4 極疊繞組電樞的 Eg 值,該電樞有 60 個槽,每個槽有 10 根導體,當以 1500 r.p.m 的速度驅動時。(ϕ=0.04 Wb)
$$\mathrm{E_g=ϕP\frac{ NZ}{60A}}$$
$$\mathrm{磁極數 (P)=4}$$
$$\mathrm{導體數 (Z)=10×60=600}$$
$$\mathrm{N=1500\: r.p.m}$$
$$\mathrm{ϕ=0.04\: Wb}$$
$$\mathrm{A=P=4}$$
$$\mathrm{E_g=ϕP\frac{NZ}{60A}=[\frac{0.04×600×1500}{60}]\times (\frac{4}{4})}$$
$$\mathrm{E_g=600\: 伏特}$$
結論
電磁力決定電磁現象。電磁力是帶電粒子之間的相互作用。電磁感應 (EMI) 指的是當導體受到變化的磁場作用時,在導體的兩端之間產生的電壓。如果電子以均勻的速度並沿相同的方向運動,則電流稱為直流電。直流發電機用於產生連續恆定值的直流電。直流發電機是交流發電機的稍微改進的版本。兩者的所有部件都相同。
常見問題
1. 如何將交流電轉換為直流電?
使用整流器可以將交流電轉換為直流電。此過程稱為整流。大多數情況下,PN 結二極體用作整流器。當二極體允許電流透過時,電流沿一個方向流動。此特性對於整流過程非常有用。
2. 交流電和直流電的區別
交流發電機和直流發電機的區別
| 交流電 | 直流電 |
|---|---|
| 可以在兩個長距離地點之間維持電力。 | 電力在長途旅行中會損失。因此,它不能用於長距離電力供應 |
| 洗衣機和風扇使用交流電。它廣泛用於廚房和家用電器。 | 手機和手電筒的電池使用直流電。電動滑板車也使用直流電。主要用於電子裝置。 |
| 交流電的平均頻率為 50 Hz 至 60 Hz。 | 直流電沒有頻率。它的頻率為零。 |
3. 解釋稜皮龜
稜皮龜在出生幾年後會回到海灘產卵。在一項研究中,據說海龜使用一種稱為地磁定位的方法來定位其出生地海灘。這些海龜可以記住地球上不同地方磁場的強度。這種記憶使它們能夠回家。
4. 電磁場的特性
安培定律指出,磁場的變化會產生電場。電動機根據該定律工作。
電磁波具有零電荷或電流的體積空間(自由空間),即密度值為零。這些波由麥克斯韋方程描述。
5. 描述磁共振成像 (MRI)
這是一種無創醫學檢查,可幫助醫生診斷和治療胸部、頭部、骨盆和腹部異常。透過電流產生強磁場。該磁場產生射頻脈衝並將它們傳輸到計算機。計算機給出了內部器官的影像,醫生可以使用這些影像來治療內部器官。
6. 定義電流的熱效應
其兩個電極之間的電位差驅動電子穿過電阻器,產生電流。隨著電流的流動,電池必須繼續釋放其能量。部分能量轉換為有用的功。剩餘的能量因發熱而浪費。如果電路完全由電阻組成,則電源的能量會不斷地以熱量的形式浪費掉。這稱為電流的熱效應。
資料結構
網路
關係資料庫管理系統
作業系統
Java
iOS
HTML
CSS
Android
Python
C 程式設計
C++
C#
MongoDB
MySQL
Javascript
PHP