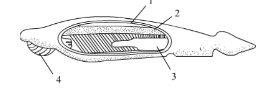
(a) 識別下圖中的生物。(b) 給圖中1到4號部位標註名稱。(c) 命名脊索存在的門。(d) 命名脊索存在於整個生命週期的亞門。
(a) 圖中所示生物為文昌魚(學名:Branchiostoma)。
(b) 各部分名稱:
(1.) 神經索 (2.) 脊索 (3.) 圍鰓孔 (4.) 口笠
(c) 脊索動物所在的門的名稱為脊索動物門 (Chordata)。
(d) 脊索存在於整個生命週期的亞門的名稱為頭索動物亞門 (Cephalochordate)。
廣告

(a) 圖中所示生物為文昌魚(學名:Branchiostoma)。
(b) 各部分名稱:
(1.) 神經索 (2.) 脊索 (3.) 圍鰓孔 (4.) 口笠
(c) 脊索動物所在的門的名稱為脊索動物門 (Chordata)。
(d) 脊索存在於整個生命週期的亞門的名稱為頭索動物亞門 (Cephalochordate)。